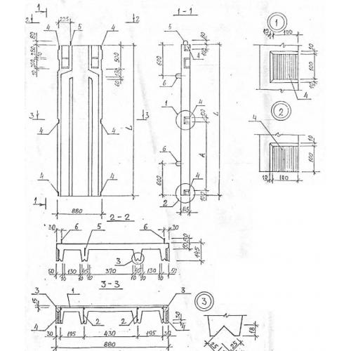
Вентблок ВБ 1-2 д представляет собой специальное железобетонное изделие, предназначенное для обеспечения вентиляции в зданиях и сооружениях. Он имеет компактные размеры и легкий вес, что облегчает его установку и обслуживание. Вентблок обладает высокой прочностью и долговечностью, что позволяет использовать его в различных условиях эксплуатации.
Вентблок ВБ 1-2 д широко применяется в строительстве для обеспечения естественной вентиляции помещений. Он устанавливается в стенах зданий и сооружений для обеспечения поступления свежего воздуха и отвода отработанного воздуха. Вентблоки используются как в жилых, так и в промышленных объектах, где необходимо поддерживать оптимальный микроклимат в помещениях. Благодаря своей надежности и эффективности, вентблоки ВБ 1-2 д пользуются популярностью среди строителей и дизайнеров.









